Lianyungang Water Meter Co., Ltd
Email: sales@langhua.com
Tel: 0086-518-86097577
Mob/Whatsapp:0086-18795550044
Add: No.16 West Hailian Road,Lianyungang city,Jiangsu province,China
I. overview
This series of sensors adopt non-magnetic working mode and have strong anti-interference and anti-pollution ability. The parts and components of the products are made of heat-resistant and wear-resistant materials with high mechanical strength and durability.
II. Technical parameters
1. Technical parameters of non-magnetic module
1) power consumption
Static power consumption < 2uA, average power consumption < 10uA
2) Limit data
Ambient temperature of inductance sensor: - 10 +95
Environmental Temperature of Electronic Module: - 10 +75
Power supply voltage: 1.8V-3.6V
3) Pulse Output
Signal output form: square wave
4) Terminals Definition
VCC-Positive Red Wire for Power Supply
GND-Power Negative Black (White) Conductor
PULS-Blue (Yellow) Wire for Signal Output
2. Accuracy Eq of Flow Sensor
Level 2 Eq= (+2.02qp/q)% and <5%
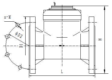
Shape size
