Lianyungang Water Meter Co., Ltd
Email: sales@langhua.com
Tel: 0086-518-86097577
Mob/Whatsapp:0086-18795550044
Add: No.16 West Hailian Road,Lianyungang city,Jiangsu province,China
his product is based on the horizontal rotor dry water meter with an additional signal transmitter. The signal transmitter can convert the mechanical signal of the change of the main indication value of the water meter into the on-off signal output. The sensor is an electronic component such as a reed or Hall. This product is suitable for the use of network meter reading system or intelligent water meter. The product also has the characteristics of low pressure loss, large circulation capacity and strong impact resistance, especially suitable for working in poor water quality environment.
Note: 1. The technical parameters of this series of water meters meet the requirements of national standard GB/T 778 (ISO4064, IDT).
2. This series of water meters can provide hot water meters.
3. This series of water meters also have M-type glass fully sealed counter for users to choose.
II. Technical parameters
Temperature Grade: Cold Water Meter: T30; Hot Water Meter: T30/T90
Pressure Level: MAP10 or MAP16
Pressure loss grade: P25
Sensitivity level of upstream flow field: U10
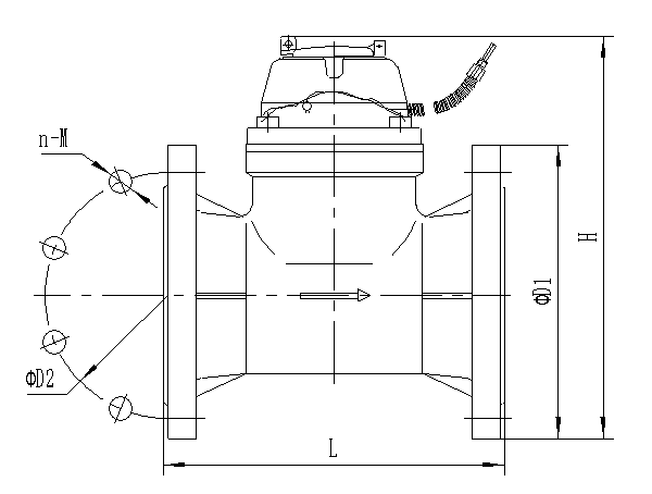
Outline size
