Lianyungang Water Meter Co., Ltd
Email: sales@langhua.com
Tel: 0086-518-86097577
Mob/Whatsapp:0086-18795550044
Add: No.16 West Hailian Road,Lianyungang city,Jiangsu province,China
I. overview
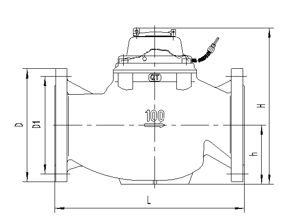
This product is based on the vertical rotor dry water meter, adding a communication device, which can change the mechanical signal of the main indication of the water meter into on-off signal output. The sensor is an electronic component such as a reed or Hall. This product is suitable for the use of network meter reading system or intelligent water meter. This series of water meters have the characteristics of large circulation capacity, small pressure loss and wide flow range.
II. Technical parameters
Temperature grade: T30
Pressure Level: MAP10 or MAP16
ressure loss grade: p63
Upstream Flow Field Sensitivity Level: U5
Sensitivity level of downstream flow field: D5
